功能特性
◆ 基于 8051 指令的高速增強型 MTPMCU
◆ ROM ┄ ROM 空間:16K*8 位 MTP,可重復寫入 1000 次
┄ EEPROM 空間:128BYTE
┄ BootLoader:支持 1KBYTELDROM,CodeOption 選擇從 APROM 或 LDROM 啟動
┄ 支持雙線仿真、IAP 和 ICP 操作
◆ RAM ┄ 256BYTE IRAM ┄ 512BYTE XRAM
◆ 工作條件
┄ 2.1~5.5V@-40~105℃應用環境
┄ 芯片 CPU 時鐘(Fcpu)對應的工作電壓范圍
-- ≤8MHz@2.1~5.5V
◆ 時鐘系統
┄ 內部高速時鐘:16MHzRC
┄ 內部低速時鐘:128KHz/40KHzRC
┄ 外部低速晶體振蕩器:32.768KHz 僅支持 RTC
◆ 低電壓復位(LVR)
┄ 復位電壓有(2.2~4.2V),共 8 檔可選
┄ 缺省值為用戶燒寫 CodeOption 所選值
┄ 可 CodeOption 選擇軟件開關低電壓復位功能
◆ 8 檔電平可選的低電壓檢測模塊(LVD)
◆ 中斷源(INT)
┄ Timer0/1/2/3/4、WDT、WKT、ADC、PWM、UART、SPI、I2C、TK、LVD 中斷源
┄ 外部中斷 INT0/INT1 ┄ 四級中斷優先級可設
◆ GPIO
┄ 最大 26 個雙向可獨立控制的 I/O 口 均可獨立設定上下拉電阻 均可設置為開漏輸出
┄ IO 口源驅動能力分 4 級控制 IOH=3mA/6mA/10mA/20mA@VO=4.5V&VDD=5V IOL=12mA/22mA/37mA/54mA@VO=0.5V&VDD=5V
◆ Timer
┄ T0/T1:兼容標準 8051
┄ T2:基本 8 位定時器,支持預分頻功能,1 路 PWM
┄ T3:自動裝載 10 位定時器 2 路 PWM,全映射,可設置為 1 路帶死區(6 位)互補輸出 2 路 PWM 共用周期,獨立占空比
┄ T4:16 位定時器,支持預分頻功能,帶 RTC 功能(0.25s、0.5s、0.75s、1s)
◆ WDT ┄支持預分頻功能 ┄可配置溢出復位或喚醒
◆ WKT ┄支持預分頻功能 ┄在休眠(STOP)模式下或者綠色(IDLE)模式下,均可喚醒 CPU
◆ 1 路 UART ┄TX/RX 功能可映射至不同的 GPIO 引腳(全映射)
◆ 1 路 I2C
◆ 1 路 SPI
◆ TK
┄ 26 通道高靈敏度高可靠性觸控電路,支持外掛電容
┄ 高靈敏度可適應隔空按鍵觸控、接近感應等對靈敏度要求較高的觸控應用
┄ 高可靠性具有很強的抗干擾性,可通過 3V 動態 CS 測試
┄ 可實現 26 路觸控按鍵及衍生功能如滾輪、滑條等多種應用
┄ 高靈活度開發軟件庫支持,低開發難度
┄ 自動化調試軟件支持,智能化開發
┄ 低功耗觸控模式支持多鍵并聯掃描(1~26 個)
┄ 隨機抖頻功能,10 個(高低頻)或 4 個高頻點,1/2/3/4 分頻,4 種隨機模式
◆ ADC
┄ 26 路 12 位 SARADC
┄ 內部參考電壓:1.024V、2.048V
┄ ADC 的參考電壓可選 VDD、內部參考、外部參考
┄ 內部一路 ADC 可直接測量 VDD/4 電壓
┄ 內部一路 ADC 可測量內部參考
┄ 內部一路 GND 電壓檢測
┄ 可設 ADC 轉換完成中斷
◆ 省電模式
┄ 空閑(IDLE)模式:任何中斷可喚醒
┄ 掉電(PD)模式:外部中斷、WDT、WKT、TIMER4 和 TK 可喚醒
◆ 高可靠性 ┄ ESD 優于±4KV、EFT 優于±4KV
◆ 開發工具 ┄ 基于 KEIL 或 RM 集成開發環境(IDE),片上調試(OCD)
◆ 封裝 ┄ SOP28/TSSOP28、SOP20/TSSOP20、SOP16/TSSOP16、QFN16L/QFN20L/QFN28L
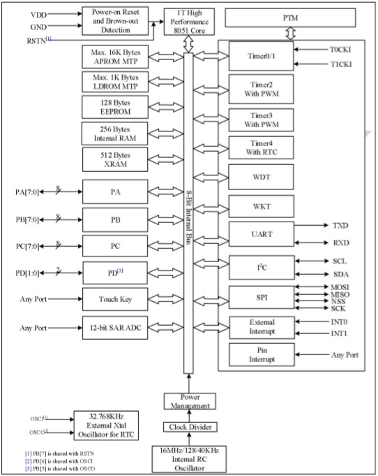
系統框圖

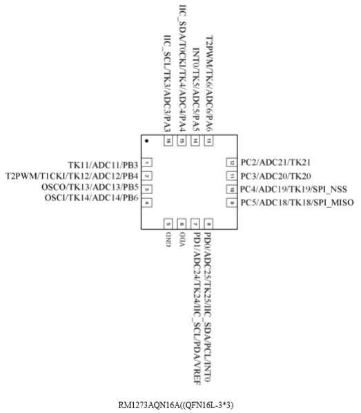
管腳排列圖





