| 在便攜和可穿戴式設備應用的驅動下,很多設計正在朝著 3.6 伏或更低供電電壓的方向發展。但是,很多便攜式設備的某些功能又需要更高的電壓,這就要求設計人員通過以最佳方式實施的 DC-DC 升壓轉換器,盡可能高效地向上轉換到所需的電壓。
本文將回顧 DC-DC 升壓穩壓器的用途,并介紹它們的拓撲。隨后,本文還將介紹一些實例器件,討論為便攜式設備和可穿戴式設備應用開發最佳設計所需的設計技術和考量。
DC-DC 升壓轉換器的作用
典型的可穿戴式設備或便攜式設備使用了鋰離子電池,標稱輸出為 3.6 伏直流電。大多數電池供電的應用都依賴于一個或多個串聯的鋰離子電池來提供主供電電壓。雖然這足以滿足大多數應用的需求,但筆記本電腦、平板電腦和其他移動設備具有的一些特定功能需要更高的電壓。
這樣的例子包括白光發光二極管 (LED) 背光驅動、射頻收發器、精密模擬電路,以及光接收器中的雪崩光電二極管 (APD) 的偏置電路。升壓 DC-DC 穩壓器可將低輸入電壓轉換為高輸出電壓,從而滿足這些應用需求。
典型升壓轉換器拓撲
升壓穩壓器的關鍵元器件包括:電感器;半導體開關,通常為功率 Mosfet;整流器二極管;集成電路 (IC) 控制塊;輸入和輸出電容器(圖 1)。

圖 1: 基本升壓穩壓器配置,顯示當開關打開和關閉時的電流方向(圖片來源: Digi-Key Electronics,基于 texas Instruments 提供的原始資料)
當施加 VIN 電壓且電源開關關閉時,電流沿著藍色路徑,通過電感器流到地。電感器將電能存儲在其磁場中。二極管反向偏置,隨著其存儲的電能供應給負載,輸出電容器兩端的電壓降低。
相反,當電源開關打開時,電流沿著紅色路徑流動,因為崩潰的磁場產生正電壓,并通過正向偏置的二極管傳輸電感器電能,為輸出電容器充電并供應給負載。
通過改變電源開關的占空比,控制塊保持恒定的輸出電壓,以響應輸入電壓變化和負載變化。輸出端的電阻分壓器可為控制塊提供電壓反饋,以便調節占空比并保持所需的輸出電壓值。
除了這些基本功能之外,集成式設計還包括可選的保護功能,針對超溫、輸出短路、開路負載條件和輸入過流等情況提供保護。
對基本電路的常見改進是使用第二個 MOSFET 替換二極管。第二個 MOSFET 充當同步整流器,在電源開關關閉時打開。其較低的電壓降減少了功率耗散,同時提高了穩壓器的效率。
在電池供電的設備中,更高的效率就等于更長的電池壽命,因而同步設計是一大優勢。此外,便攜式設備和可穿戴設備通常在空間上受到限制,因此面向這些應用的升壓轉換器具有很高的集成度。將電源元器件包括在封裝中,將會限制其供流能力,但在電池供電設備的設計中,這個缺點是可以接受的。很多此類應用長時間處于關斷模式,因而超低的靜態電流消耗變得至關重要。
Texas Instruments 提供的 TPS610993Yfft 就是低功耗升壓穩壓器的一個例子(圖 2)。這是一種同步器件,其靜態電流僅 1µA,但能提供高達 800 毫安 (mA) 的電流,并在低至 0.7 伏特的輸入電壓下產生 3.0 伏特的輸出電壓。該器件的設計目的是在輕負載條件下最大程度地提高工作效率。它可與堿性電池或充電電池(例如 NiMH 電池或鋰離子電池)配合使用。

圖 2: TPS61099x 系列能夠從 0.7 伏特的輸入電壓提供高達 5.5 伏特的輸出電壓。(圖片來源:Texas Instruments)
TPS610993 將電源開關和同步整流器集成到 6 焊球的晶圓級芯片尺寸封裝 (WCSP) 中,尺寸僅為 1.23 毫米 x 0.88 毫米。由于尺寸小巧,它非常適用于光學心率監測儀、存儲器液晶顯示屏 (LCD) 偏置驅動器,以及類似的空間受限的應用。該器件是 TPS61099x 系列產品的成員,輸出電壓在 1.8 伏特至 5.5 伏特之間。
在為智能手機攝像頭閃光燈或電池供電的 LED 燈產生更高的電壓方面,MIcrochip Technology 的 MCP1665 采用了不同的方法:它集成了 36 伏特、100 毫歐 (mΩ) 的 NMOS 電源開關,但在非同步拓撲中使用了外部二極管。

圖 3: MICROCHIP 的 MCP1665 能夠從鋰離子、NiMH 或 NiCd 電池產生高達 32 伏的電壓。(圖片來源:Microchip Technology)
該器件能夠從 5 伏電源提供高達 1000 毫安的電流,并具備多種特性,包括受控啟動電壓、工作模式選擇、500 千赫茲 (kHz) 的開關頻率;峰值電流模式架構可在廣泛負載范圍內實現高效率。
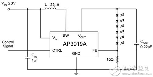
在一些升壓應用中,將輸出電壓維持在設定值并非主要設計目標。在 LED 背光驅動中,所需的 LED 亮度是通過 LED 燈串的電流的函數,因此,流經分流電阻器的電流形成了控制器的反饋電壓,并決定了升壓電壓。diodes Incorporated 供應的 AP3019AKTR-G1 是經過優化的升壓轉換器的一個例子,適合在背光應用中驅動最多 8 個 LED 的燈串(圖 4)。

圖 4: AP3019A 驅動器的典型開關頻率為 1.2 MHz,包括可控制 LED 背光燈串亮度的專門功能。(圖片來源: Diodes Incorporated)
該器件專門針對空間受限的應用進行了優化,內部包括電源開關和二極管,開關頻率為 1.2 MHz,允許使用微型外部元器件。AP3019A 采用 SOT-23-6 封裝,能夠提供高達 550 mA 的電流。
CTRL 引腳是專用的關斷和調光輸入:將該引腳連接到 1.8 伏或更高的電壓可啟用器件;連接到 0.5 伏或更低的電壓可禁用器件;應用脈沖寬度調制 (PWM) 信號可實現 LED 亮度控制。
采用以下設計技巧來優化效率
在已經討論的一些器件中,制造商已在內部固定了一些參數,但設計人員通常還要在幾個方面進行取舍,以優化轉換效率。此外,他們還必須根據適用的指導準則,慎重地選擇正確的外部元器件。
開關頻率: 雖然開關頻率不會直接影響輸出電壓,但它會對電源設計產生很大影響。一般來說,對于特定應用,在開關頻率更高的情況下,設計人員能夠使用更小的電感器和電容器。電感器尺寸主要取決于允許的紋波電流大小。對于特定的電感,隨著開關頻率提高,紋波電流減小:假定有多種器件可選,設計人員可在較高的開關頻率和較小的電感器之間達到平衡,同時保持相同大小的紋波電流。
較高的工作頻率可為開關穩壓器提供更大的帶寬,縮短瞬態響應時間。較小的電感器還可減少電源的尺寸和成本。
電感器選擇: 電感器是升壓轉換器的一個關鍵元件:能在電源開關接通期間存儲能量,并在關斷期間將存儲的能量通過輸出整流二極管傳輸至輸出。
設計人員必須在低電感器電流紋波與高效率之間達到平衡。對于給定的物理尺寸,電感較低的電感器會擁有較高的飽和電流和較低的串聯電阻,但較低電感會導致更高的峰值電流,進而使能效降低,紋波增大和噪聲提高。
在選擇合適的電感器時,電感器的額定飽和電流必須大于電感器峰值電流,電感器的 RMS 額定電流必須大于穩壓器的最大直流輸入電流。
大多數升壓穩壓器的規格書都包括了針對不同負載電流和電壓的建議:我們上文介紹的來自 Microchip 的 MCP1665 的規格書建議,對于 15 伏以下的輸出電壓,使用 PaNASonic Electronic Components 的 ELL-8TP4R7NB 4.7 微亨 (µH) 電感器;對于更高的輸出電壓,使用 Wurth Electronics 的 7447714100 10 µH 電感器。
二極管選擇
在非同步設計中,應該使用正向電壓較低的肖特基二極管來減少損耗。二極管的平均正向額定電流必須等于或高于最大輸出電流。二極管的重復峰值正向額定電流必須等于或高于電感器峰值電流,二極管的反向擊穿電壓必須高于內部電源開關額定電壓。
例如,MCP1665 帶有 36 伏特的內部開關,能夠提供高達 1 安培的電流。因此,Microchip 建議使用 STMicroelectronics 供應的 STPS2L40VU 肖特基二極管,該器件的反向擊穿電壓為 40 伏特,正向電流為 2 安培。
在高溫下,二極管的漏電電流也可能對轉換器的工作效率產生重大影響。對于較高的電流和環境溫度,請使用具有良好熱特性的二極管。
輸入和輸出電容器: 在升壓拓撲中,電感器的作用是消除為穩壓器電路供電的電源電路的瞬態需求,從而減少所需的輸入濾波。X5R 等級的陶瓷電容器通常足以滿足 +85°C 工作溫度的需求,但對于 +125°C 的工作溫度,可能需要低 ESR 的 X7R 電容器。
如果電源的阻抗過高,無法將輸入電壓保持在高負載階躍下的欠壓鎖定閾值之上,則還可能需要其他的電解電容器或鉭電容器。
在負載側,輸出電容器可減少負載紋波,幫助在負載瞬態期間提供穩定的輸出電壓。建議使用 X7R 陶瓷電容器作為輸出電容器:其他類型的電容器可能具有較高的 ESR,會降低轉換器效率。
電容器的 DC 額定值應該適當高于最大輸出電壓 VOUT,因為當接近最大電壓時,陶瓷電容器會損失效率。有關電容器選擇的建議,請查詢規格書。
升壓穩壓器布局注意事項: 升壓穩壓器具有高速開關特征,因此其性能對 pcb 布局非常敏感:寄生電感和電容可能導致高輸出紋波、輸出穩壓效果不佳、電磁干擾 (EMI) 過大,甚至因高電壓尖峰而導致故障。
因此,設計人員應對 PCB 布局給予高度關注,并使用以下技巧:
-
輸出電容器的位置應該靠近器件,并使用短而寬的走線進行連接,以最大程度減少可能導致電壓瞬時振蕩和尖峰的寄生電感。多個過孔有助于降低寄生電容。
-
放置輸出電容器之后,將電感器放置在靠近 IC 的位置,以降低產生的電磁干擾。由于 SW 節點(參見圖 2、3、4)存在電氣噪聲,因此反饋 (FB) 信號和其他敏感走線應該遠離此節點。
-
輸入電容器的接地節點也應該靠近 IC 電源接地引腳,以最大程度減小回路面積。
-
要達到最佳熱性能,布局應該包括從器件導熱墊(如適用)一直到地平面的散熱過孔;這樣可以改進散熱,降低熱關斷的風險。
-
電源接地、信號接地和導熱墊應該在單個低阻抗接地點連接在一起。
在線設計工具會加快設計過程
高效的電源設計要求設計人員具備多個領域的專業知識,包括元器件評估和選擇、磁性元件、補償電路設計、優化、熱分析和布局等。
在認識到其中的復雜性后,多家電源半導體供應商提供了實用的在線設計工具,用于指導工程師完成所需的步驟來實現成功的設計。
Texas Instruments 提供了多種工具。例如,Power Stage Designer™ 可幫助工程師設計最常用的開關電源。對于升壓轉換器,我們需要選擇升壓、降壓-升壓和 SEPIC 拓撲。選擇推薦的拓撲之后,程序還會幫助設計人員比較不同電源 FET 的性能、挑選大容量電容器、確定補償網絡,并且執行其他設計功能。
adi 提供了 ADIsimPower™ 設計工具組,可幫助設計人員生成完整原理圖和物料清單 (BOM),并計算電路性能。ADIsimPower 能在考慮 IC 和外部元件的工作條件和局限性的同時,在成本、板面積、能效和零件數量方面對設計進行優化。
總結
升壓穩壓器讓我們能夠使用高電壓電路功能,在電池供電的便攜式設備和可穿戴設備的設計中,它扮演著非常重要的角色。但是,設計人員必須選擇適合所需升壓應用的器件,并且注意多種關鍵設計權衡和最佳實踐。 |