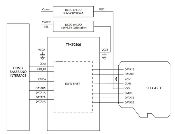
聚焦高性能模擬與數;旌袭a品的供應商思瑞浦3PEAK(股票代碼:688536)推出完全兼容SD3.0規范的高集成度、雙向雙電源電平轉換器——TPXT0506。產品內置自動方向控制功能,專為跨電壓域連接場景設計:一端適配1.7V-3.6V信號電平的存儲卡,另一端匹配1.1V-1.95V的主機接口,無需額外控制信號即可實現無縫通信。
TPXT0506產品優勢
國產供應鏈,高集成度
TPXT0506采用先進封裝WLCSP-16,其內部集成上拉電阻與自動方向控制功能,有效減少外圍元件,降低了物料清單成本與PCB板面積占用,加速產品上市。其管腳定義與業界主流方案完全兼容,支持直接P2P替換。TPXT0506基于全國產化供應鏈,實現自主可控與穩定供應。

寬電壓范圍與自動使能
TPXT0506支持VCCA側1.1V-1.95V、VCCB側1.7V-3.6V的寬范圍電壓轉換,兼容性強。內置自動使能功能,當VCCB電壓高于閾值時自動開啟,低于閾值時自動關閉SD卡側驅動,提升了系統的電源管理便利性與可靠性。
低延時與時鐘反饋,保障高速傳輸
針對SD3.0規范下的高速傳輸需求,TPXT0506提供了低至數納秒的傳播延遲,并專門設計了時鐘反饋通道,以補償電平轉換和PCB走線引入的延遲,為SDR104等超高速模式下的數據讀取提供了充足的時序裕量,確保數據傳輸的穩定與準確。
TPXT0506產品特性
• 全面支持SD3.0規范:SDR104, SDR50, DDR50, SDR25, SDR12, High-Speed, Default-Speed模式;
• 支持最高208MHz時鐘速率;
• 寬電壓電平轉換:VCCA (1.1V至1.95V) 與 VCCB (1.7V至3.6V) 之間;
• 集成上拉電阻,無需外部電阻;
• 自動方向感應,無需方向控制信號;
• 無VCCA、VCCB上電順序要求;
• 先進封裝技術:WLCSP-16。
TPXT0506典型應用
TPXT0506全面覆蓋SD3.0全系列高速模式(含 SDR104/208 MHz、DDR50)及SD2.0規范,滿足高速數據傳輸需求。憑借高集成、高可靠性的核心優勢,TPXT0506廣泛應用于智能手機、平板電腦、筆記本電腦、數碼相機等消費電子及便攜式設備,為各類終端的存儲接口提供高效穩定的信號轉換解決方案。同時,TPXT0506依托全國產化供應鏈體系,實現供貨穩定的可靠保障,為客戶打造集高性能、高安全、穩供應于一體的國產化優選方案。

|