| 人類與噪音的斗爭史可以追溯到原始社會了,打雷時嚇得捂住耳朵算是人類最早的降噪手段了。時至今日,傳統降噪方式衍生出了很多相關產品,例如耳塞、隔音棉、隔音板等,均是基于隔音材料阻隔吸收,無法從根本上解決噪聲。隨著電子技術的發展,以在模擬信號、混合信號和數字信號處理設計領域領先企業ADI為典型的半導體廠商們紛紛推出各自的主動降噪技術解決方案,使之逐漸在近些年獲得興起。
主動降噪技術在降噪耳機中的應用
主動降噪ANC(Active Noise CancellaTIon)是通過偵聽背景噪聲,利用芯片與算法模型計算噪聲聲波并生成反相聲波,利用聲波疊加抵消原理達到降噪效果。所以,如何在不同的噪音傳遞到耳朵之前就能清楚辨別,然后釋放出對應的聲波進行抵消,這就是這項技術的關鍵。

內置式降噪耳機工作原理
從抵消噪聲的實現方式來看,主動降噪技術又可分為兩種:第一種是由模擬電路來實現主動降噪,第二種是用數字電路來實現主動降噪,這兩種降噪方式各有優劣。模擬主動降噪的電路需要運放、電阻和電容等大量元器件,所以PCB占用空間比較大,而數字主動降噪電路用到數字IC,所以占用空間小。但模擬主動降噪基本無延遲,數字電路在DSP上會產生一定延遲。再來看看降噪效果的可調性,模擬ANC的調節非常有限,只能通過調節增益/音量來改變降噪效果;而數字ANC的靈活性比較大,不僅可以調節增益,還可以調節EQ,降噪算法等,哪怕是已經出廠的耳機未來也可以通過更新固件來優化降噪效果。因此,數字主動降噪有助于無線音頻工程師滿足消費者全方位的需求,包括卓越的音質、噪聲消除和抑制功能、及強大的電池續航能力,同時由于其更優的降噪效果與更低成本,正逐漸占據市場主流。

模擬主動降噪技術vs數字主動降噪技術
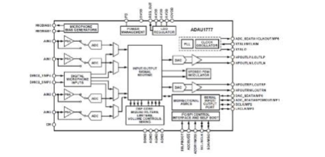
基于數字主動降噪技術,ADI推出了一系列的專用ANC SoC芯片,比如ADAU1777 ANC Audio SoC是一款具有四個輸入和兩個輸出的編解碼器,內置數字處理器,可執行濾波、電平控制、信號電平監控和混合。從模擬輸入至DSP內核再到模擬輸出的路徑經過優化,實現了低延遲,非常適用于降噪耳機。消費市場上就已有不少知名的主動降噪耳機采用ADI的DSP技術,例如降噪耳機發明者Bose公司便基于ADAU 1777設計出了Bose QC系列降噪耳機,成為行業的標竿。

ADAU1777 ANC Audio SoC
而功能升級版的ADI ADAU1787的主動降噪方案,整合了兩個數字信號處理器 (DSP)——有著高達768kHz的采樣速率的可編程FastDSP音頻處理器,支持雙二階濾波器、限制器、音量控制、混頻;可使用SigmaStudio進行可視化編程,性能高達50MIPS的28位 SigmaDSP 音頻處理內核。..。..從模擬輸入到DSP內核再到模擬輸出的路徑已針對低延遲進行優化,通過加入少量無源組件,ADAU1787提供了性能卓越的耳機解決方案。

ADAU1778 ANC SoC
開放聲場主動降噪技術探討
如果通過作用范圍不同將主動降噪技術進行分類的話,噪聲源與降噪作用點單一,需要借助穿戴設備,如降噪耳機降噪,屬于單點主動降噪;而作用于三維空間噪聲,無需借助穿戴設備則屬于開放聲場主動降噪。三維空間主動降噪技術除了需要優秀的主動降噪算法功底外,更需要深厚的聲學理論背景,對三維空間聲場進行分析、模擬、降噪,以實現在非穿戴前提下對特定區域主動降噪,進而大大拓展應用范圍,因此技術難度更大。
目前三維空間主動降噪技術應用,比較成熟的是在對汽車引擎的降噪上,但由于引擎噪音固定且低頻,降噪相對易行,一般來說,車輛行駛時除了主要有來自于發動機的噪音外,還有包括胎噪、風噪以及外界環境的噪音等。現階段汽車則是主要是通過減振、消音、隔音這幾種比較傳統的技術來進行降噪,更進一步的技術則是采用ANC車內主動降噪科技。需要依靠軟件來驅動,然后使用車內麥克風噪音樣本進行采集,經系統分析出噪音的頻譜后,再由車內揚聲器播放與噪音相位相反、振幅相同的聲波來達到抵消噪音的目的。
近日,ADI與現代汽車公司合作推出業界首個全數字路噪降噪系統,是首個可在汽車車艙內大幅降噪的系統,利用了ADI領先的A²B音頻總線技術幫助解決電子RANC(路噪主動噪聲控制)系統面臨的多項挑戰。該RANC系統基于現有的ANC技術,并在此基礎上借助A2B總線優化了功能與信號傳輸的速度。一般胎噪或發動機噪音0.009秒左右就能進入駕駛艙內,基于A2B可以保證延時最多2個時鐘周期(50Mbps),由于其計算和信號傳輸速度得到了優化,因此僅需 0.002 秒即可分析噪聲并產生由數字信號處理器(DSP)產生的反向聲波,這對于過去的傳統總線來說是一個挑戰。RANC能夠通過特殊的信號與傳感器位置在車輛行駛時對車內前后排產生的噪音進行精確的分析與計算,并可將車內噪音降低3dBA,這也是RANC技術的核心所在——不要小看3dBA,在聲壓領域,3dBA相當于將噪音減少一半。

現代汽車RANC系統
下圖是汽車座艙ADI主動降噪技術的示意圖,其主動降噪控制器核心仍是音頻處理DSP。ADI設想在未來的座艙中,車內不同座位都可以形成獨立的聲音分區,不同位置聽到的音頻內容也都不一樣,且互相之間沒有太多干擾——這樣的場景也非常需要音頻處理DSP。或許將來ADI音頻處理的DSP芯片里也會加入傳統強大的暗盒,在不一樣的應用場景更好地處理相應的聲音。

ADI主動降噪技術的示意圖
除了汽車座艙領域應用之外,在消費全面升級的今天,家電領域對降噪技術存在強烈需求,但是落地應用與布局仍是藍海。作為家用市場聚焦的主陣地,例如攪拌機、吸塵器和烤面包機發出的各種噪聲,讓許多消費者為之煩惱,所以他們愿意花更多的錢購買具有噪音抑制功能的家用電器。在前不久的CES2020上,ADI展示了基于ADAU1452音頻處理器的家用電器(咖啡機)主動降噪功能,可以實現10dB(A)噪聲消減效果。此類解決方案同樣可以運行于那些產生較大噪聲的家用電器上,如豆漿機等,讓讓人不舒服的嘈雜聲從家庭環境消失。

CES2020上ADI展示利用其SigmaDSP抑制家用電器噪音
本文總結
如今,在電子產品競爭日益激烈,音質體驗逐漸成為產品競爭力的重要因·素,這也促使了主動降噪技術廣泛應用。隨著越來越多基于ADI ANC解決方案的合作伙伴產品實現多場景應用落地,相信主動降噪技術在未來將會有更巨大的想象空間。 |