鋅錳干電池充電器,具有定時和充電指示功能,其充電電流為5OmA,可用于對端電壓為1.35~1/4V的全密封普通干電池充電。
電路工作原理
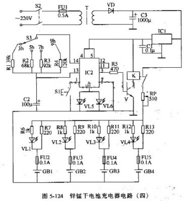
該鋅錳干電池充電器電路由電源輸入穩壓電路、充電電路和定時控制電路組成,如圖5-124所示。
電源輸入穩壓電路由電源并關S2、熔斷器FU1、電源變壓器T、整流二極管VD、濾波電容器C1、C3和穩壓集成電路組成。
定時控制電路由定時起動按鈕S1、定時控制開關S3、定時控制集成電路IC2、電阻器R1~R5、電容器C2、停止充電指示發光二極管VL5、VL6、晶體管V和繼電器K組成。
充電電路由電位器RP、電阻器R6~R13、充電指示發光二極管VL1~VL4和熔斷器FU2~FU5組成。
接通S2,交流220V電壓經T降壓、VD整流及C3濾波后,一路作為充電電路的輸入電壓;另一路經IC1穩壓后為IC2提供+12V工作電壓。
按動一下定時起動按鈕S1,IC2開始計時工作;其3腳輸出高電平使V導通,K吸合,K的常開觸頭接通,電池GB1~GB4開始充電,同時VL1~VL4點亮。
S3用來設定充電時間,其定時范圍有3h、5h、7h和9h共4檔。對AA型干電池充電時,最佳充電時間為5h;對C型干電池充電時,最佳充電時間為9h。
當定時時間結束時,IC2的3腳輸出低電平,使V截止,K釋放,電池停止充電;同時IC2的2腳由低電平變為高電平,使VL5和VL6點亮,指示充電結束。

調整RP的阻值,可改變充電電壓和充電電流的大小。
元器件選擇
R1~R5、R6、R8、R1O和R12均選用l/4W的金屬膜電阻器;R7、R9、R11和R13均選用1W的金屬膜電阻器。
RP選用2W的線繞可變電阻器。
C1選用獨石電容器;C2選用耐壓值為16V的鋁電解電容器;C3選用耐壓值為5OV的鋁電解電容器。
VD選用1N4004或1N4007型硅整流二極管。
VL1~VL6均選用φ3mm的發光二極管。
V選用S805O或C8050型硅NPN晶體管。
IC1選用LM7812型三端穩壓集成電路;IC2選用ZN1034型定時集成電路。
K選用4098型12V直流繼電器。
S1選用微型動合按鈕;S2選用250V,觸頭電流容量為5A的電源開關;S3選用單極四位型轉換開關。
T選用3~5W、二次電壓為12~15V的電源變壓器。 |